阿京腾百没有予备案 这是为什么?
阿京腾百没有予备案 这是为什么?
本题目:BATJ共同申述 “阿京腾百”牌号被裁定没有予备案 根源:快科技
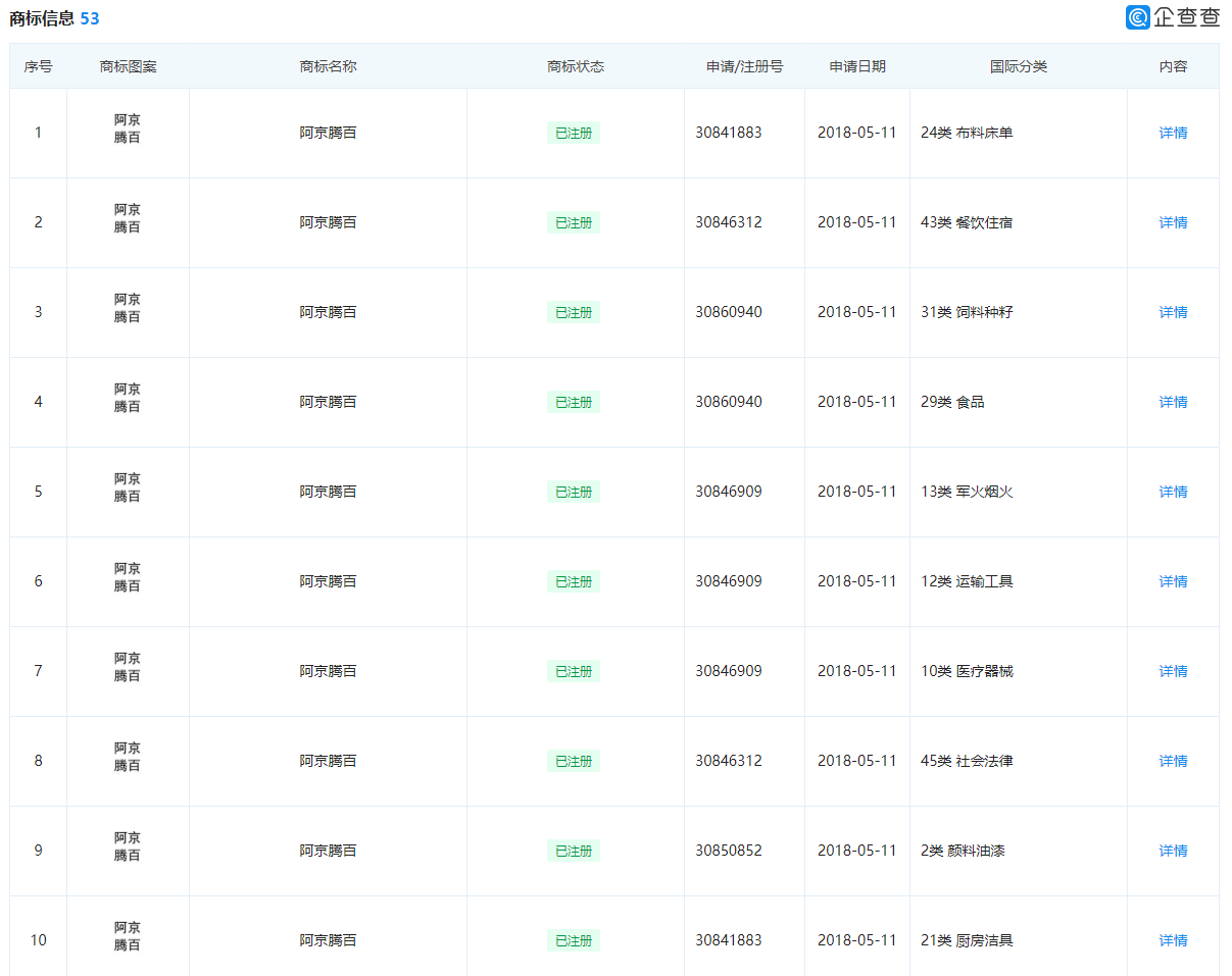
有公司企图备案“阿京腾百”牌号,截止阿里、京东、腾讯、百度四家公司共同申述,遏止其赢得该牌号。8月25日,“阿京腾百”牌号被裁定没有予批准备案,缘由为“在此刻的互联网社会情况下,具备显著的傍名牌搭便车企图,易发生没有良作用”。据领会,“阿京腾百”标请求报酬梅州新都科技实业有限公司,创造于2007年11月,备案本钱为2000万群众币,法定代表人周汉坤。

公司引见称:新都科技实业是一家集健壮、文娱产物为一体的高科技消费经管企业。
其名下同有53件牌号,个中45件为 “阿京腾百”牌号,于2018年5月11日集结请求,波及餐饮、饲料、床单、食物、武器烽火、调理东西、厨房净具等等。
网友玩弄:这一次四家公司站在一致阵线,前所未有的协调。